Электропривод БЕЛИМО NFA
Технические характеристики электроприводов с возвратной пружиной
|
Тип привода |
Номинальное напряжение, В |
Крутящий момент, Н·м |
Площадь заслонки, м² |
Потребляемая мощность, при вращении/в состоянии покоя, Вт |
Управление |
|
NF24A |
24 |
10 |
2 |
6/2,5 |
Открыто/закрыто |
* Подбор электропривода осуществляется по крутящему моменту и площади поперечного сечения заслонки.
** Вспомогательный переключатель: 1 однополюсный с двойным переключением 6 (1,5) А, 250 В~ (двойная изоляция), настраивается 0…100%.
*** Вспомогательный переключатель: 2 однополюсных с двойным переключением 1 мА… 3 (0.5)А 250 В~(1 фиксированный / 1 настраиваемый 11…90%).
** Площадь заслонки указана справочно. При выборе электропривода необходимо учитывать также величину необходимого крутящего момента.
Принцип действия. При перемещении привода в нормальное рабочее положение взводится возвратная пружина. При прекращении подачи питания энергия, запасенная в пружине, возвращает заслонку в охранное положение. Привод SFA снабжен универсальным блоком питания и может работать от 24…240 В~ 50/60 Гц / 24…125 В=.
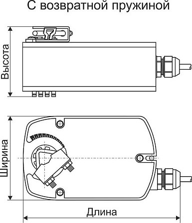
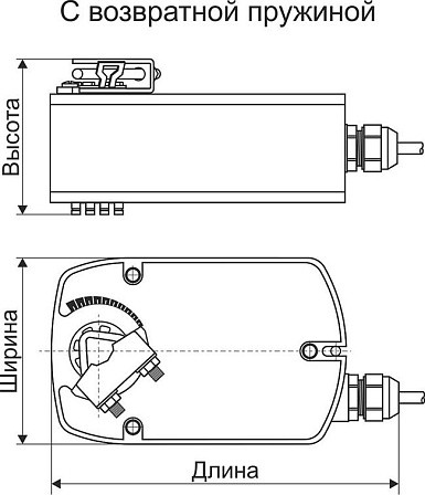
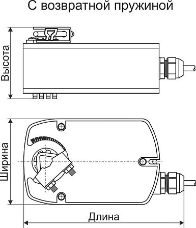
Установка. Простая установка непосредственно на вал заслонки при помощи универсального захвата, снабжается фиксатором, предотвращающим вращение корпуса электропривода.
Надежность. Электропривод защищен от перегрузки, не требует конечных выключателей и останавливается автоматически при достижении конечных положений.
Ручное управление (для моделей NFA, NFA-S2, NF24A, NF24A-SR, SFA, SFA-S2, SF24A-SR). Ручное управление осуществляется при помощи ручного поворотного ключа. Привод можно заблокировать при помощи ключа в любой точке угла поворота. Блокировка снимается вручную или при подаче питания на привод.
Электрическая схема подключения
